Immersionsultramikroskop nach R. Zsigmondy von Winkel-Zeiss, Göttingen


Immersionsultramikroskop Winkel-Zeiss Nr. 32607 aus 1930 Immersionsultramikroskop Winkel-Zeiss Nr. 32607 aus 1930 Immersionsultramikroskop Winkel-Zeiss Nr. 32607 aus 1930 Immersionsultramikroskop Winkel-Zeiss Nr. 32607 aus 1930

Immersionsultramikroskop Winkel-Zeiss Nr. 32607 aus 1930

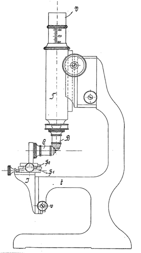
Immersions-Ultramikroskop nach R. Zsigmondy von Winkel-Zeiss aus dem Jahre 1930. Das Stativ ist gefertigt aus vernickeltem und schwarz lackiertem Messing und lackiertem Stahl.

Dieses Ultramikroskop verfügt über das auf einem Schlitten montierte Beleuchtungsobjektiv R. Winkel Ultra-Wasserimmers. 6.2 mm Nr. 23807 mit Gummiring und das ebenfalls auf einer Schwalbenschwanzführung montierte Beobachtungsobjektiv R. Winkel Ultra-Wasserimmers. 6.2 mm B.O. D.R.P. 268876 Nr. 23797. Zur Betrachtung des Zwischenbildes dient ein Kompensationsokular Nr. 6.

Immersionsultramikroskop Winkel-Zeiss Nr. 32607 aus 1930: Beleuchtungsobjektiv Immersionsultramikroskop Winkel-Zeiss Nr. 32607 aus 1930: Beleuchtungsobjektiv
Ein Spiegel ist an dem festen Stativ montiert, er wird nur für Eichungsmessungen desr Teilungen des Okulars benötigt.

Immersionsultramikroskop Winkel-Zeiss. Abb. aus: DRP 268876Auf dem Tubus befindet sich die Signatur: Immersionsultramikroskop Winkel-Zeiss Nr. 32607 aus 1930: Signatur

Winkel-Zeiss

Göttingen

Nr. 32607

Dem Chemiker Richard Zsigmondy (1865 - 1929) gelingt es gemeinsam mit dem bei Carl Zeiss in Jena tätigen Physiker Henry Siedentopf (1872- 1940) im Jahre 1902 das Spalt-Ultramikroskop vorzustellen und Goldnanopartikel mit unter 4 nm Durchmesser in Rubingläsern sichtbar zu machen. Ihre auf einer optischen Bank zu montierende Erfindung wird rasch kommerzialisiert und eine Reihe Apparate zur Untersuchung kolloidaler Lösungen finden in dem aufstrebenden Wissenschaftszweig Anwendung.   

Zsigmondy wird 1908 nach Göttingen berufen und wendet sich dort an Rudolf Winkel, um das Ultramikroskop weiter zu verbessern und die Helligkeit der Beugungsscheibchen der Nanopartikel in Lösung mittels hochaperturiger Beleuchtungs- und Beobachtungsoptiken weiter zu steigern. Es gelingt Zsigmondy mit der Unterstützung von Albert und Hermann Winkel ein Immersions-Ultramikroskop vorzustellen, welches ab 1912 mit dem Patent Nr. 268876 geschützt ist.

Immersionsultramikroskop Winkel-Zeiss Nr. 32607 aus 1930: Beobachtungsobjektiv Immersionsultramikroskop Winkel-Zeiss Nr. 32607 aus 1930: Beobachtungsobjektiv
Sowohl das Beleuchtungs-, als auch das Beobachtungsobjektiv ist als Wasserimmersion mit 6,2 mm Brennweite und numerischer Apertur von 1,05 ausgeführt. Um beide Optiken unter den für die extreme Dunkelfeldmethode nötigen 90° anzunähern sind die Frontlinsen aus Quarzglas samt Fassung unter 45° angeschliffen. Erstmals können mit dieser Apparatur Nanopartikel in wässriger Lösung eingehend studiert und charakterisiert werden.
Immersionsultramikroskop Winkel-Zeiss Nr. 32607 aus 1930: Objektive am Stativ montiertImmersionsultramikroskop Winkel-Zeiss Nr. 32607: InventurplaketteZsigmondy beschreibt damit die Masse der Partikel und stellt Vermutungen über deren Geometrie an - erst Jahrzehnte nach diesen Versuchen können seine Annahmen als richtig bestätigt werden. Im Jahre 1919 wird das Ultra-Immersionsmikroskop bei Winkel von Arthur Ehringhaus in der Konstruktion und Fertigbarkeit weiter verbessert, baut aber im Wesentlichen auf dem Patent 268876 auf. Das hier gezeigte Mikroskop stellt die Ausführung dieses Geräts aus dem Jahre 1930 dar.

Das Beleuchtungsobjektiv ist auf einem Kreuzschlitten montiert, der eine genaue Ausrichtung der Beleuchtungs- auf die Beobachtungsachse zulässt. Die zu untersuchende kolloidale Lösung wird über einen Trichter eingefüllt und in einen am Beleuchtungsobjektiv angeklemmten kleinen Trog aus schwarzem Glas gefüllt. Die Objektivfassungen sind aus galvanisch vergoldetem Münzsilber hergestellt, um möglichst widerstandsfähig gegen Säuren und Basen zu sein. Aus dem selben Material ist die Fassung des Glastroges ausgeführt und als D.R.G.M. 842461 geschützt. Die Helligkeit der selben Nanopartikel ist im Vergleich zum Spalt-Ultramikroskop in dieser Konstruktion ganze 21 mal größer. Das Volumen des Glastroges wird bei Auslieferung geeicht und beträgt im vorliegenden Fall 3,08 Nanoliter.

Zsigmondy wird 1925 mit dem Nobelpreis für Chemie ausgezeichnet; in der Begründung heisst es er erhalte den Preis für die Aufklärung der heterogenen Natur kolloidaler Lösungen sowie für seine dabei angewandten Methoden, die grundlegend für die moderne Kolloidchemie sind. Streng genommen handelt es sich damit um den ersten Nobelpreis, der für ein Mikroskopieverfahren verliehen wird.

Immersionsultramikroskop Winkel-Zeiss Nr. 32607: VergrößerungstabelleIn R. Winkel G.m.b.H.: Immersions-Ultramikroskop nach R. Zsigmondy (Druckschrift Nr. 234, Buchdruckerei des Waisenhauses, Halle 1925) wird dieses Instrument angeboten als:

Immersionsultramikroskop Winkel-Zeiss Nr. 32607 aus 1930 im KastenSpezial-Mikroskopstativ "Ultra" mit Schlittenfassungen, Trichtergestell, 2 Glastrichtern, Beobachtungstrog und Schlauch mit Quetschhahn...Mk. 450,-

Zwei Wasser-Immersionen, Brennweite 6,2 mm, num Apertur 1,05 und 0,80 auf Schlitten montiert, als Beleuchtungs- und Beobachtungssystem für ultramikroskopische Untersuchungen...Mk. 450,-

Schrank...Mk. 25,-

Das übrige Zubehör wie der optische Bank, der Präzisionsspalt, die regelbare elektrische Beleuchtungseinrichtung etc. schlagen mit weiteren Mk. 550.- zu Buche.

Optional können darüber hinaus weitere mechanische und einfacherer optische Bauteile bestellt werden, mit denen das Stativ zur Charakterisierung von Festkörpern mit eingebrachten ultramikroskopischen Teilchen verwendet werden kann.

Das hier gezeigte Mikroskop wird im Schrank stehend aufbewahrt und laut Vergrösserungstabelle zu Silvester 1930 an die Universität Salzburg ausgeliefert, hierauf verweist die Plakette der ehemaligen Inventurnummer 245.

Da die Konstruktion des Ultramikroskops ausschließlich die Untersuchung von Nanopartikeln zulässt und keine herkömmlichen mikroskopischen Arbeiten damit durchgeführt werden können überdauern die wenigen gefertigten Stative dieser Art nur selten die Jahrzehnte. Es ist entsprechend selbst nach intensiver Recherche bisher kein weiteres erhaltenes Immersions-Ultramikroskop in einer öffentlichen oder privaten Sammlung bekannt.

Das hier gezeigte Instrument wird 2006 von Dr. Olaf Medenbach dieser Sammlung geschenkt.

Immersionsultramikroskop Winkel-Zeiss. Abb. aus: R.Winkel G.m.b.H. Optische und mechanische Werkstätten Göttingen - Winkel-Zeiss: Mikroskope Polarisations-Apparate Zubehör; Druckschrift O p; Göttingen Juli 1930

Mikroskopaufnahme mit dem Immersionsultramikroskop Nr. 32607 von Winkel-Zeiss. Zu sehen sind 50 nm große Nanopartikel aus SilberIm Frühjahr 2011 wird dieses Mikroskop eingesetzt, um einen historischen Versuch Richard Zsigmondys am Institut für Photonische Technologien (IPHT) in Jena zu wiederholen und mit modernen Methoden zu vergleichen.

Im Oktober 2012 erscheinen die Ergebnisse dieser Versuche in einem Zeitschriftenartikel zum 100. Geburtstag des Immersions-Ultramikroskops als: T. Mappes, N. Jahr, A. Csáki, N. Vogler, J. Popp und W. Fritzsche (2012), Die Erfindung des Immersions-Ultramikroskops 1912 - Beginn der Nanotechnologie? Angewandte Chemie 124 (45): doi: 10.1002/ange.201204688 sowie in der englischsprachigen Ausgabe dieser Zeitschrift. Neben dem Immersions-Ultramikroskop wird bei dieser Gelegenheit auch die Entwicklung des Spalt-Ultramikroskops eingehend diskutiert.


20.08.2012 by Timo Mappes

home Mikroskopie Spektroskopie Varia

© 2012 by Timo Mappes, Germany